Магазин запчастей для бытовой техники - Arlos
Москва
close
Выберите ваш регион
АбаканАлександровАльметьевскАнгарскАрзамасАрмавирАртемАрхангельскАстраханьАчинскБалаковоБалашихаБеларусьБелгородБердскБерезникиБийскБлаговещенскБратскБрянскВеликий НовгородВидноеВладивостокВладикавказВладимирВолгоградВолгодонскВолжскийВологдаВолховВоркутаВоронежВоскресенскВыборгГатчинаГеленджикГрозныйДедовскДербентДзержинскДзержинскийДимитровградДмитровДолгопрудныйДомодедовоДонецкЕвпаторияЕгорьевскЕкатеринбургЕлецЕссентукиЖелезногорскЖелезнодорожныйЖуковскийЗеленоградЗлатоустИвановоИвантеевкаИжевскИркутскИстраЙошкар-ОлаКазаньКалининградКалугаКаменск-УральскийКамышинКаспийскКемеровоКерчьКировКисловодскКлинКовровКоломнаКомсомольск-на-АмуреКопейскКоролёвКостромаКотельникиКрасногорскКраснодарКраснознаменскКрасноярскКурганКурскКызылЛенинск-КузнецкийЛипецкЛобняЛыткариноЛюберцыМагнитогорскМайкопМалаховкаМахачкалаМиассМоскваМурманскМуромМытищиНабережные ЧелныНазраньНальчикНаро-ФоминскНахабиноНаходкаНевинномысскНефтекамскНефтеюганскНижневартовскНижнекамскНижний НовгородНижний ТагилНовокузнецкНовокуйбышевскНовомосковскНовороссийскНовосибирскНовоуральскНовочебоксарскНовочеркасскНовошахтинскНовый УренгойНогинскНорильскНоябрьскОбнинскОдинцовоОктябрьскийОмскОрелОренбургОрехово-ЗуевоОрскПавловский ПосадПензаПервоуральскПермьПетрозаводскПетропавловск-КамчатскийПодольскПрокопьевскПсковПушкиноПятигорскРаменскоеРеутовРостов-на-ДонуРубцовскРыбинскРязаньСакиСалаватСамараСанкт-ПетербургСаранскСаратовСевастопольСеверодвинскСеверскСергиев ПосадСерпуховСимферопольСмоленскСосновый БорСочиСтавропольСтарый ОсколСтерлитамакСтупиноСургутСызраньСыктывкарТаганрогТамбовТверьТихвинТольяттиТомилиноТомскТроицкТулаТюменьУлан-УдэУльяновскУссурийскУсть-ИлимскУфаУхтаФеодосияФрязиноХабаровскХанты-МансийскХасавюртХимкиЧебоксарыЧелябинскЧереповецЧеркесскЧеховЧитаШахтыЩелковоЭлектростальЭлистаЭнгельсЮжно-СахалинскЯкутскЯлтаЯрославль
  • - бесплатно по РФ
    Автоперезвон. Работает по принципу: Вы позвонили на номер, мы сбрасываем звонок и перезваниваем через 3 секунды.
  • - по Москве
  • 8 (925) 663-83-63

Call-центр

пн-вс: 10:00-19:00

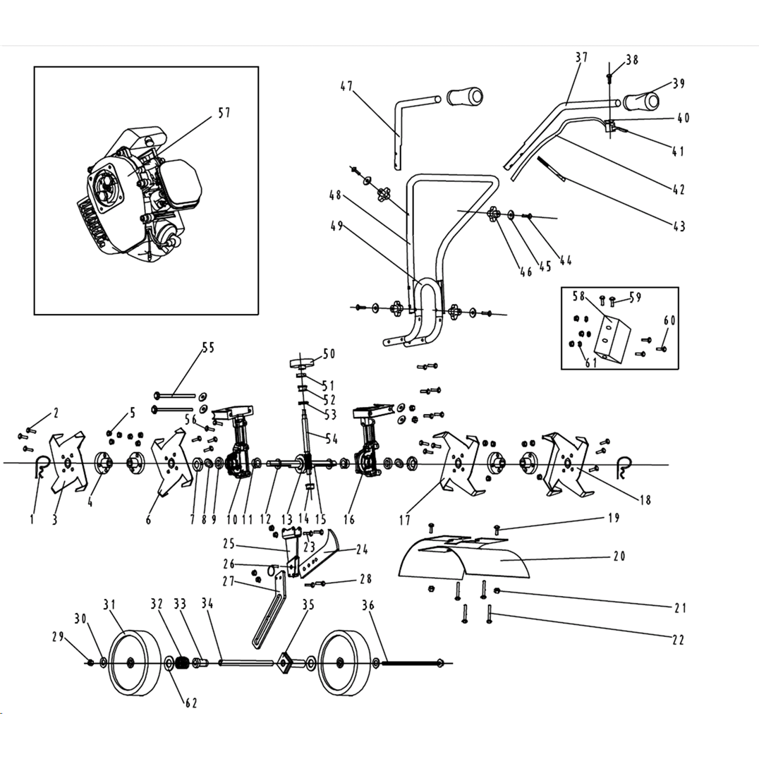
Культиватор бензиновый МКЛ-100

Данная модель имеет несколько схем

NАртикулНазваниеСрок отгрузкиЦенаКупить
1.01 N000-030-974 Бак топливный в сборе пластиковый 553 р.
1.02 N000-027-514 Винт M5x20
1.03 N000-030-975 Кронштейн бака
1.04 N000-020-825 Винт M5х35
1.09 N000-030-977 Кожух маховика
1.10 N000-008-167 Шайба пружинная D8
1.11 N000-027-572 Винт M8x25
1.12 N000-030-978 Сцепление 395 р.
1.13 N000-030-979 Маховик 777 р.
1.14 N000-029-165 Сальник D30хd15х7 261 р.
1.15 N000-006-326 Подшипник шариковый 6202 открытый (35х15х11) CCEB 341 р.
1.16 N000-030-980 Картер левая часть 1.496 р.
1.17 N000-030-981 Вал коленчатый в сборе с шатуном 1.225 р.
1.18 N000-030-976 Шпонка сегментная L12xS3xH5 64 р.
1.19 N000-030-982 Прокладка картера паронитовая 69 р.
1.20 N000-021-768 Картер правая часть 907 р.
1.21 U516-140-027 Винт M5х12
1.22 U590-430-018 Сальник D22хd12хh7 165 р.
1.23 N000-030-984 Алюминиевая пластина 95 р.
1.24 N000-030-985 Храповик V1 круглый метал 153 р.
1.25 N000-030-986 Стартер в сборе V1 548 р.
1.26 N000-021-782 Подшипник игольчатый (14х10х16) 138 р.
1.26-30,32 N000-032-017 Цилиндро-поршневая группа (ЦПГ) в сборе D44 4.359 р.
1.27 N000-030-987 Кольцо стопорное поршевого пальца
1.28 N000-030-988 Палец поршневой
1.29 N000-030-989 Поршень D44
1.30 N000-030-990 Кольцо поршневое D44
1.32 N000-030-991 Цилиндр D44 1.258 р.
1.33 N000-030-992 Прокладка глушителя паронитовая 69 р.
1.34 N000-030-993 Глушитель
1.35 UM01-000-199 Винт M5x60 H4
1.36 N000-030-994 Крышка глушителя
1.39 N000-030-995 Магнето 1.164 р.
1.40 U590-350-077 Свеча зажигания TORCH L7RTC 630 р.
1.42 N000-030-996 Теплоизолятор 305 р.
1.43 N000-030-997 Прокладка карбюратора паронитовая 39 р.
1.44 N000-030-998 Карбюратор MPF15S5D/Stable 1.630 р.
1.45 N000-030-999 Фильтр воздушный
1.45-50 N000-031-096 Фильтр воздушный в сборе 427 р.
1.47 N000-031-000 Прокладка воздушного фильтра
1.48 N000-031-001 Сетка воздушного фильтра
1.49 N000-031-002 Элемент фильтрующий поролоновый
1.50 N000-031-003 Крышка воздушного фильтра
1.51 N000-031-004 Кожух цилиндра
1.54 N000-031-005 Крышка кожуха
1.55 N000-031-006 Прокладка цилиндра паронитовая 69 р.
1.56 N000-031-007 Прокладка впускного коллектора паронитовая 69 р.
1.58 N000-031-008 Штифт установочный
2.01 N000-030-969 Шплинт пружинный d3.5 D30 L75
2.02 N000-027-550 Болт M6x20
2.03 N000-030-754 Фреза 1 809 р.
2.04 N000-030-755 Муфта
2.05 UM05-005-003 Гайка М6 (с шайбой с насечкой)
2.06 N000-030-756 Фреза 2 809 р.
2.07 N000-030-757 Защита сальника
2.08 N000-030-970 Шайба D37xd19xh2
2.09 N000-030-971 Сальник D32xd19x7 117 р.
2.10 N000-030-758 Корпус редуктора левый
2.11 N000-030-759 Втулка медная
2.12 N000-030-972 Шайба D32xd19.1x2.3
2.13 N000-030-760 Шестерня червячная 1.630 р.
2.14 N000-030-761 Втулка медная
2.15 N000-030-762 Вал привода фрез
2.16 N000-030-763 Корпус редуктора правый
2.17 N000-030-764 Фреза 3 809 р.
2.18 N000-030-765 Фреза 4 809 р.
2.19 N000-013-070 Болт М5x12
2.20 N000-030-766 Крыло защитное
2.21 UM05-001-001 Гайка M5 (автогровер) 92 р.
2.22 UM03-000-036 Болт М6x40
2.24 N000-030-767 Сошник
2.25 N000-030-768 Сцепка
2.26 U525-800-041 Палец L20 D8
2.27 N000-030-769 Направляющая колес
2.29 UM05-001-008 Гайка М8 автогровер 11 р.
2.30 N000-020-148 Шайба D8
2.31 N000-030-770 Колесо
2.33 N000-030-772 Втулка
2.34 N000-030-773 Ось колес
2.35 N000-030-774 Втулка
2.37 N000-030-775 Ручка правая
2.38 UM03-000-039 Болт М5x28
2.39 N000-030-776 Рукоятка резиновая
2.40 N000-030-777 Прокладка резиновая
2.41 N000-030-778 Регулятор дроссельной заслонки в сборе 812 р.
2.41-42 N000-031-095 Регулятор дроссельной заслонки с тросом в сборе 869 р.
2.42 N000-030-779 Трос дроссельный в сборе
2.43 N000-030-780 Трубка
2.45 N000-020-149 Шайба D18хd8х2
2.46 N000-030-352 Гайка барашек M8
2.47 N000-030-781 Ручка левая 429 р.
2.48 N000-030-782 Ручка средняя часть
2.49 N000-030-783 Ручка нижняя часть
2.50 N000-030-784 Муфта сцепления 868 р.
2.51 U309-750-013 Подшипник шариковый 629 (26х9х8) 189 р.
2.53 N000-030-785 Втулка
2.54 N000-030-788 Вал червячный 830 р.
2.56 N000-013-084 Болт М6x8
2.57 N000-030-786 Двигатель 2-х такт. В сборе (культиватора)
2.58 N000-030-787 Коробка электро-техническая
2.59 N000-013-088 Болт М6x12
2.61 N000-020-867 Шайба D5 92 р.
2.62 N000-018-762 Шайба D12
2.63 N000-040-261 Редуктор в сборе 1.479 р.
Найдено товаров: 104
1
▲ Наверх
0
8 (925) 663-83-63

Call-центр

пн-вс: 10:00-19:00

НАЙТИ ПО МОДЕЛИ
Введите номер заказа
Введите номер своего заказа, что бы узнать его текущий статус.
Что бы получить доступ к расширенным функциям, пройдите не сложную регистрацию. Зарегистрироваться